NTP 1193: Diisocianatos en el ámbito laboral (II):evaluación de riesgos y medidas de control. Legislación - Año 2024

Nota Técnica de Prevención 1.193

Título:
Diisocianatos en el ámbito laboral (II): evaluación de riesgos y medidas de control. Legislación.

Elaborado por:
Ruth Jiménez Saavedra
Bárbara González San Martín
Alberto Vicente de la Peña
 
Centro Nacional de Nuevas Tecnologías (INSST)

Resumen:
 A lo largo de los años se han producido cambios a nivel normativo y se han desarrollado nuevos métodos de medida para diisocianatos. Con el objetivo de actualizar y ampliar la información sobre estas sustancias, se ha elaborado una serie de 3 NTP, en las que se desarrollan los conceptos básicos sobre los diisocianatos, los efectos para la salud, métodos de toma de muestra y análisis, medidas de control y avances normativos.
En esta NTP se describen los principios básicos a tener en cuenta en el proceso de evaluación y posibles medidas de control. También se describen las actualizaciones en materia legislativa teniendo en cuenta tanto el ámbito de la comercialización como el ámbito de la prevención de riesgos laborales.
 

NIPO: 118-20-027-6

Autor: Instituto Nacional de Seguridad y Salud en el Trabajo (INSST), O.A., M.P

Contiene: 9 páginas

Descargar PDF (475,0 KB)

Contenido relacionado

Contenido del documento en formato texto

Las NTP son guías de buenas prácticas. Sus indicaciones no son obligatorias salvo que estén recogidas en una disposición normativa vigente. A efectos de valorar la pertinencia de las recomendaciones contenidas en una NTP concreta es conveniente tener en cuenta su fecha de edición.

 

1. EVALUACIÓN DE RIESGOS POR EXPOSICIÓN A DIISOCIANATOS

En la NTP 1.192 se han descrito las características y propiedades de los diisocianatos, volúmenes de producción y peligros sobre la salud. Es importante conocer cuáles son sus aplicaciones en el ámbito industrial para saber qué población trabajadora puede verse expuesta a los mismos y cuándo será necesario realizar una evaluación de riesgos, teniendo en cuenta las exposiciones y procedimientos de uso. El uso de los diisocianatos es bastante amplio y por ello es importante conocer aquellas situaciones esperables con presencia de diisocianatos.

Exposición laboral a diisocianatos

Aplicaciones y usos

La exposición laboral a diisocianatos puede darse durante el proceso de obtención de estos o cuando se usan para producir otras sustancias o mezclas que los contengan, como pueden ser poliuretanos, plásticos, selladores o espumas, entre otros.

La reacción química que se da entre los diisocianatos y los grupos hidroxilo de los polialcoholes para producir los diversos poliuretanos es una reacción altamente exotérmica. Además, es una reacción rápida. No obstante, el curado y postcurado de los poliuretanos puede alargarse hasta las 72 horas, en algunos casos, tiempo durante el cual todavía se podría producir la exposición a los diisocianatos aún presentes.

En otras aplicaciones no existen los polialcoholes y es la propia humedad ambiental con la que reaccionan los diisocianatos. También pueden reaccionar con diaminas para formar poliureas. En el ámbito laboral, lo que se da con mayor frecuencia es la reacción con polioles.

Se podría decir que la industria del poliuretano engloba la mayoría de los usos de los diisocianatos, dado que el resto de los usos se pueden considerar usos o aplicaciones especiales de los poliuretanos.

Una relación no exhaustiva de aplicaciones de los poliuretanos y, por tanto, de los diisocianatos podría ser:

  • Adhesivos y selladores: se utilizan en adhesivos de dos fases que suelen ofrecer una alta resistencia y durabilidad, por ejemplo, en el sellado de cristales de ventanas. 
  • Pinturas, barnices y lacas: la incorporación de estos agentes en pinturas y lacas ofrecen ciertas propiedades a los productos sobre los que se aplican como brillo, resistencia, anticorrosión.
  • Moldes en fundiciones: los poliuretanos presentan resistencia a la abrasión
  • Espumas flexibles: para la fabricación de colchones, rellenos de tapicería.
  • Espumas rígidas (aislantes): se utilizan generalmente para efectuar aislamientos y recubrimientos en autocares, contenedores, embarcaciones y otros productos. Las espumas rígidas también se utilizan como aislamiento de viviendas, cámaras y establecimientos frigoríficos, así como en la fabricación de embarcaciones para garantizar su flotabilidad.
  • Elastómeros y fibras: para la fabricación de juntas herméticas y como ligante para hacer la unión de las fibras. Se fabrican gomas duras y también gomas blandas para la elaboración de juntas, por ejemplo, para los filtros del aire de los coches.
  • Recubrimientos: por sus propiedades de elevada resistencia.
  • Material de embalaje: empleado en el relleno para la protección de los artículos del interior del embalaje.
  • Madera: como adhesivo y ligante en productos de madera.
  • Plaguicidas: se utilizan isocianatos (un único grupo NCO) en la fabricación de carbamatos, de los cuales algunos son altamente peligrosos.

Los sectores o subsectores que utilizan estos productos son, entre otros (véase NTP 1.192):

  • Industria eléctrica y electrónica
  • Industria química
  • Industria automovilística (fabricantes y talleres)
  • Fundiciones
  • Industria de la pintura
  • Industria del mueble
  • Construcción
  • Fabricación de electrodomésticos
  • Industria aeroespacial
  • Industria médica
  • Artes gráficas
  • Industria textil y del calzado

La forma de manipulación y aplicación de los productos mencionados anteriormente debe ser cuidadosamente estudiada para que la exposición a los diisocianatos sea la mínima posible, dado que hay productos que se pueden aplicar en diferentes condiciones en caliente, con brocha o rodillo, con pistola pulverizadora (ver imagen 1) que aumentan la exposición a los mismos. Por lo tanto, deben emplearse aquellas formas de aplicación que eviten o reduzcan al mínimo la exposición por vía inhalatoria y dérmica, y que mantengan los resultados productivos esperados.

De igual modo se debe prestar atención al uso y a la manipulación de productos finales que contengan poliuretanos (diisocianatos) y dónde se lleven a cabo procesos que impliquen calentamiento (soldadura, fusión, termoformado, etc.) o procesos en los que se formen partículas 
(lijado, desbastado, chorreado, etc.).


Imagen 1: Aplicación de aislante de espuma de poliuretano.

 

En la tabla 1 se muestran algunos usos de los diisocianatos extraída de los diferentes expedientes de registro de los distintos diisocianatos, tal y como recoge la ECHA (European Chemicals Agency) en su informe sobre la evaluación de valores límite.


Tabla 1: Usos identificados atendiendo a los dosieres de registro. Fuente: extraída y traducida del informe del Comité de Evaluación de Riesgos de la ECHA: Evaluation of limit values for diisocyanates at the workplace 20193

Criterios de valoración: valores límite

Como todo proceso de evaluación de riesgos por exposición a sustancias químicas, este comenzará por identificar las sustancias presentes, en este caso diisocianatos (incluyendo los tipos que puedan estar presentes), y recopilar las características y propiedades de estos. Una gran parte de la información puede obtenerse a través del inventario de clasificación y etiquetado de la Agencia Europea de Sustancias y Mezclas, ECHA, así como de las fichas de datos de seguridad, informes previos de evaluación de riesgos y cualquier otra información que nos pueda servir para evaluar el riesgo de exposición a estas sustancias.

1 Termoplástico
2 Lentes ópticas y termoplásticos
3 c= uso final de consumidores. Rev: revestimientos. Adh: adhesivos y selladores. Esp. fl: espuma flexible. Esp. ri: espuma rígida. El: elastómero.
Comp: compuestos. Limp: limpieza. Fund: fundición. Pol: polímero. Int: intermedios

Por otro lado, se deberán identificar todos los factores relacionados con la exposición y las condiciones de trabajo, como son, por ejemplo: las tareas, los procesos, la frecuencia, la duración, las características de las personas que llevan a cabo el trabajo, los equipos, las medidas de control existentes, las condiciones ambientales y cualquier otro factor que pueda afectar a la exposición de las personas trabajadoras.

Al igual que para el resto de las sustancias químicas es necesario conocer qué criterios de valoración se emplearán a la hora de realizar las preceptivas evaluaciones de riesgos. Se deberá tener en cuenta la clasificación de peligro de los distintos tipos de diisocianatos pues existe 
variación entre ellos. Como se ha descrito anteriormente, una de las características que comparten los diisocianatos es la de ser potentes sensibilizantes, tanto para el sistema respiratorio como para la piel. Esta característica dificulta la posibilidad de establecer un valor umbral 
para el efecto y derivar el correspondiente valor límite. Por tanto, los valores se han establecido en función del riesgo de reacción de hipersensibilización en determinados órganos. 

Actualmente en España se dispone de varios valores límite ambientales (VLA) para distintos diisocianatos, pero a futuro, y de hecho así lo expresa el informe de opinión de la Agencia Europea de Sustancias y Mezclas (ECHA) y la directiva 2024/869, se dispondrá de un valor limite único para todos los diisocianatos (grupo funcional -NCO) como ya tienen algunos países (por ejemplo, Reino Unido). Esto se debe a que los diisocianatos comparten esa característica de inducir reacciones de hipersensibilidad, aunque no hay información suficiente para determinar la potencia sensibilizante de todos y cada uno de ellos. 

En el caso de que sea necesaria la realización de toma de muestras para valorar la exposición de los trabajadores a diisocianatos, hay que tener en cuenta que una de las vías de entrada es la vía dérmica, la cual contribuye al desarrollo de la sensibilización en las vías respiratorias, aunque no se pueda cuantificar. Esto quiere decir que la medición servirá para mostrar la conformidad con el valor límite, ya sea actual o futuro, pero que la evaluación de la exposición deberá contemplar esta posible vía de entrada. Los diisocianatos ejercen una acción local en la piel y a través de ella a nivel sistémico.

Para personas previamente sensibilizadas dichos valores límite serán de poca utilidad. De igual manera, las personas trabajadoras con alguna afección respiratoria como el asma pueden ser más susceptibles que otras al desarrollo de enfermedades causadas por exposición a diisocianatos. 

Los isocianatos para los que se indican valores límite ambientales en el documento de Límites de Exposición Profesional se recogen en la tabla 2.

Tabla 2: Valores Límite Ambientales recogidos en el documento “Límites de Exposición Profesional para Agentes Químicos en España 2024”. 

 

Estos valores límite se establecieron para diisocianatos específicos. Sin embargo, la Comisión Europea ha publicado en marzo de 2024 la directiva 2024/869 que modifica la directiva de agentes químicos en la que se incluye por primera vez un valor límite vinculante para diisocianatos. Esta modificación considera un valor límite para el grupo isocianato -NCO. Esto quiere decir que se ha acordado agrupar el valor límite para que sea igual para todos los diisocianatos. Se establece un valor límite de larga duración de 6 μg/m³ (grupo -NCO) y un valor límite para exposiciones de corta duración de 12 μg/m³ (véase la tabla 3). Se incluye también una anotación de sensibilización para la vía dérmica e inhalatoria, así como una anotación de vía dérmica.

4 El diisocianato de 1,5-naftileno puede presentar una ligera variación de clasificación según el porcentaje de partículas con un diámetro de
partículas inferior a 50 μm (ATP 18 del Reglamento CLP).


Tabla 3: Valores límite establecidos en la modificación de la directiva de agentes químicos

La directiva de modificación permite un valor transitorio de 10 μg/m³ (exposiciones de larga duración) y 20 μg/m³ (exposiciones de corta duración) hasta el 31 de diciembre de 2028 para permitir a las empresas adaptarse a los valores definitivos. Se recomienda complementar con la vigilancia de la salud para poder detectar síntomas en un estado temprano y evitar mayores consecuencias.

Actualmente no hay establecidos valores límite biológicos para determinar la cantidad absorbida tras la exposición, aunque en algunos países, y así lo propone también la ECHA, existen unos valores biológicos de referencia o guía para valorar dicha absorción que se han establecido para algunos metabolitos de los diisocianatos en sangre (véase la tabla 4). En otros casos, como, por ejemplo, en Reino Unido, se dispone de un valor biológico guía (Biological Monitoring Guidance Value, BMGV) de 1 micromol de diamina en orina por mol de creatinina para muestras tomadas al final de la tarea.


Tabla 4: Métodos para la biomonitorización de diisocianatos (extraído y traducido del informe de opinión del Comité de Evaluación de riesgos (Risk Assessment committee, RAC), de la ECHA)6

 

2. CONTROL DE LA EXPOSICIÓN

La manipulación de compuestos que contengan grupos isocianato (-NCO) exige la adopción de una serie de medidas tendentes a minimizar la liberación y presencia de sus vapores y aerosoles en el ambiente laboral y prevenir los efectos perjudiciales de éstos. Desde un punto de vista preventivo el orden de preferencia en la adopción de esas medidas es la siguiente:

  • Sustitución, si es técnicamente posible, de los productos manipulados por otros productos libres de isocianatos; productos cuya presión de vapor sea menor.
  • Confinamiento físico de los procesos u operaciones cuando sea posible.
  • Instalación de sistemas de extracción en los focos de emisión de contaminantes combinado con un sistema de ventilación general adecuado.
  • Desarrollo de métodos de trabajo y adopción, por parte de las personas trabajadoras, de hábitos adecuados que reduzcan el riesgo, por ejemplo, cerrar los envases tras el uso, limpieza de los útiles de trabajo.
  • Utilización de equipos de protección adecuados. Se ha descrito anteriormente la importancia de la vía dérmica en el caso particular de los diisocianatos por lo que se debe prestar atención a esta vía y evitar todo contacto con estos agentes. 
  • Formación: además de lo establecido en el ámbito de la normativa de prevención de riesgos laborales, el Reglamento REACH ha introducido una formación específica para mejorar el control del uso y de las exposiciones a diisocianatos.

Sustitución 

Actualmente existen en el mercado alternativas al uso de productos que contienen poliuretanos, principal aplicación del uso de diisocianatos, y por tanto libre de ellos. Existen por ejemplo espumas que ya no los contienen. Con motivo de las restricciones que va incorporando la normativa y dada la peligrosidad de estos compuestos se va viendo un avance en el mercado de estos productos alternativos. Es importante que los productos alternativos ofrezcan la misma funcionalidad que los productos originales, sin embargo, aún no hay opciones disponibles para todos los productos que ofrezcan el mismo resultado. No obstante, se recomienda, en la medida de lo posible, la búsqueda de estas alternativas. Los proveedores pueden ser una buena fuente de información para ello.

5 El mé todo permite la determinación simultá nea de diaminas.
6 HDI: Diisocianato de 1,6-hexametileno / HDA: Hexametilendiamina.
TDI: Diisocianato de 2,4-tolueno / TDA: toluenodiamina.
IPDI: Diisocianato de isoforona / IPDA: isoforondiamina.
MDI: Diisocianato de 4,4'-difenilmetano / MDA: metiléndianilina.

Confinamiento físico

La utilización de diisocianatos o productos que los contengan debería realizarse en sistemas cerrados en la medida de lo posible. Además, estos sistemas deberían disponer de extracción local incorporada. Un ejemplo son las cabinas de pintura. En la mayoría de los casos durante la  aplicación, la persona que realiza las tareas de pintado, barnizado, etc., tendrá que hacer uso además de equipos de protección individual, aunque se realicen las tareas en una zona confinada. El uso de las cabinas requiere disponer de procedimientos de trabajo, uso restringido a trabajadores autorizados y un perfecto conocimiento del uso de estas. Tras el funcionamiento, las cabinas deben permanecer cerradas el tiempo que sea necesario antes de abrirlas, para que los contaminantes que se encuentran suspendidos en el aire se depositen y pueda procederse posteriormente a una limpieza adecuada. Por tanto, es necesario una combinación de medidas para el total control de la exposición. 

Además, en el caso de generación de residuos, debería contemplarse la gestión de estos de una manera adecuada. Añadido al confinamiento físico, en el caso de aplicaciones en espray, pueden utilizarse equipos que reducen la cantidad de aerosoles en el aire. Un ejemplo de ello son las pistolas de alto volumen y baja presión (HVLP por sus siglas en inglés), empleadas en el uso de aplicación de pinturas. 

Sistemas de extracción

Los sistemas de extracción deben diseñarse y seleccionarse cuidadosamente según los agentes que se desean controlar y las tareas que se están realizando. Esto condicionará la emisión al ambiente y la exposición (dispersión, cantidad, temperatura, tipo de proceso). La utilización de sistemas de extracción requiere un conocimiento específico sobre todos los parámetros que hay que tener en cuenta para su implantación (velocidad de 
captura, sistemas de depuración, conductos) así como un programa de mantenimiento frecuente. Además, las personas que vayan a hacer uso de estos tienen que recibir formación específica para que se haga un uso adecuado de los mismos. 

Según las situaciones a controlar, es probable que sea necesario complementar estas medidas con equipos de protección individual, como en el caso de la pulverización en cabinas. 

A continuación, se muestran, a modo de ejemplo, en las figuras 1, 2 y 3 distintos sistemas de extracción según el tipo de tareas relacionadas con diisocianatos.


Figura. 1: Esquema de una cabina de pintura con extracción incorporada. 


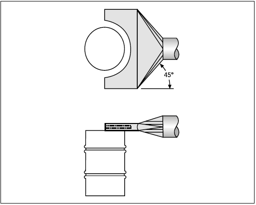
Figura 2: Esquema de un sistema de extracción localizada para tareas de llenado de un bidón.


Figura 3: Esquema de un sistema de extracción sobre un tanque o depósito.

 

Equipos de protección individual EPI

Cuando las medidas preventivas dirigidas a la eliminación del riesgo o a su reducción no son posibles o bien resultan insuficientes, debe utilizarse un EPI. Por tanto, en todas aquellas operaciones en las que se manipulen diisocianatos y exista riesgo de exposición deberán utilizarse EPI, cuya necesidad e idoneidad deberán venir refrendadas por la evaluación de riesgos. Será el técnico de prevención quien tomando como punto de partida dicha evaluación seleccionará los EPI más adecuados en función de la tarea a realizar, otras sustancias que puedan estar presentes y los equipos empleados, así como las condiciones individuales de cada persona, en su caso.

Dependiendo del tipo de exposición, puede ser necesaria la utilización de uno o varios EPI. En cualquier caso, la tipología de estos vendrá determinada por la vía de entrada del contaminante en la persona expuesta. Como norma general, y según se ha comentado anteriormente, se deberá evitar todo contacto de los diisocianatos con la piel de la persona, así como la inhalación de vapores y aerosoles. Así, pues, podrán ser necesarios los siguientes tipos de EPI:

  • Ropa de protección química, adecuada a la forma de presentación del contaminante (gas o vapor, líquido pulverizado o a chorro, partículas sólidas, etc.).
  • Guantes de protección química (por ejemplo, caucho butílico, caucho nitrilo) y, en función de la tarea, con alguna otra protección adicional, como protección mecánica. Es importante mirar el tiempo de permeabilidad para usos prolongados.
  • Calzado de protección con resistencia adecuada a la tarea y a la forma de presentación del contaminante (química y mecánica, por ejemplo, con puntera reforzada, etc.).
  • Protección ocular o facial, nuevamente en función de la tarea y de la forma de presentación del contaminante (por ejemplo, gafas sin ventilación o con ventilación en función del tamaño de la partícula en el ambiente, etc.)., así como plantear la necesidad de combinar varios tipos de protección en un mismo EPI (protección ocular y facial mediante máscara de protección respiratoria o incorporada al traje de protección) 
  • Protección respiratoria con máscara

Cuando deba recurrirse a la protección respiratoria durante la realización de trabajos donde pueda haber una exposición importante (por ejemplo en tareas de proyección de pintura), se optará por usar equipos de protección respiratoria con máscara y suministro de aire, teniendo bien en cuenta que, si se utilizase para este fin la línea de aire comprimido, tendría que estar dotada con válvulas antirretorno para evitar que reviertan sobre la persona vapores de isocianato proveniente de los tanques, que son presurizados con dicha línea.

Asimismo, se deberá filtrar y humidificar el aire comprimido que se vaya a respirar.

Por último, resultan de suma importancia los procedimientos, instrucciones y formación sobre la puesta y retirada de los EPI. La puesta del EPI de forma correcta según las instrucciones del fabricante, así como su ajuste, son imprescindibles para asegurar su funcionamiento para el fin previsto y la correcta retirada de los EPI una vez utilizados (y posiblemente contaminados) es crucial para evitar la exposición del trabajador en ese momento.

Otras recomendaciones

  • Los objetos que entren en contacto con diisocianatos se deben limpiar inmediatamente después de su uso.
  • Si se impregna la ropa de trabajo, se recomienda sustituirla rápidamente. Esto requiere disponer de ropa de recambio.
  • Los depósitos que contengan diisocianatos deberán estar cerrados herméticamente; la presencia de humedad en ellos puede provocar la generación de dióxido de carbono, con riesgo de explosión al aumentar la presión en su interior.
  • Los bidones vacíos pueden contener restos de diisocianatos por lo que no se reutilizarán; antes de almacenarlos se neutralizará el contenido.
  • Disponer de kits de descontaminación para diisocianatos o material absorbente en caso de derrames accidentales
  • Cuando se realicen tareas con diisocianatos o productos que los contengan es importante que se conozcan las medidas de primeros auxilios recomendadas en las fichas de datos de seguridad y en particular, observar la aparición de efectos o síntomas retardados. Esta información estará disponible en la sección 4 de la ficha de datos de seguridad.
  • Gestión de residuos: si se hacen reaccionar con los productos adecuados se pueden formar compuestos inertes. Estos pueden quemarse en incineradoras. Es importante conocer lo establecido en la normativa correspondiente relacionada con la gestión de residuos.

3. MARCO LEGAL

En el ámbito legal relacionado con agentes químicos se dispone de la normativa relacionada con el registro y comercialización de sustancias químicas y por otro lado de la normativa del ámbito de la prevención de riesgos laborales. No es el propósito de esta NTP entrar en todos los aspectos de la norma, pero sí en lo relacionado con los aspectos de formación que vienen contemplados desde el ámbito de la comercialización y desde el ámbito de la PRL. 

Uno de los aspectos a destacar entre las últimas modificaciones del Reglamento REACH (Reglamento (CE) nº 1907/2006 del Parlamento Europeo y del Consejo, relativo al registro, la evaluación, la autorización y la restricción de las sustancias y mezclas químicas) es la incorporación de un programa de formación obligatoria para las personas trabajadoras que utilicen y manipulen sustancias o mezclas que contengan diisocianatos. A su vez, en la normativa de prevención de riesgos laborales, tanto la Ley de Prevención (Ley 31/1995) como el real decreto de agentes químicos (Real Decreto 374/2001, de 6 de abril, sobre la protección de la salud y seguridad de los trabajadores contra los riesgos relacionados con los agentes químicos durante el trabajo) establecen unas obligaciones de formación para los trabajadores con relación a sustancias químicas peligrosas, usos, medidas de control, entre otros aspectos, de manera general. Esto significa que la formación especificada bajo el amparo del Reglamento REACH será complementaria a la que viene especificada en la normativa de prevención de riesgos laborales. A continuación, se detalla más información 
sobre los requisitos de formación desde ambas perspectivas. El objetivo es común en ambas: la protección de la salud de las personas trabajadoras.

REACH: Reglamento 2020/1149 DE LA COMISIÓN de 3 de agosto de 2020 que modifica, por lo que respecta a los diisocianatos, el anexo XVII del Reglamento (CE) nº 1907/2006 del Parlamento Europeo y del Consejo, relativo al registro, la evaluación, la autorización y la restricción de las sustancias y mezclas químicas (REACH)

El Reglamento (CE) nº 1907/2006 del Parlamento Europeo y del Consejo, de 18 de diciembre de 2006, relativo al registro, la evaluación, la autorización y la restricción de las sustancias y mezclas químicas (REACH) fue modificado por el Reglamento (UE) 2020/1149. Esta modificación, 
ha establecido unos plazos específicos para ciertas acciones en febrero de 2022 y agosto de 2023 como sigue:

  1. No deberán usarse como sustancias como tales o como componentes de otras sustancias o en mezclas para usos industriales y profesionales después del 24 de agosto de 2023, excepto si: 
    • la concentración de diisocianatos individualmente y en conjunto es inferior al 0,1 % en peso, o 
    • el empleador o el trabajador por cuenta propia garantizan que el usuario o usuarios industriales o profesionales han completado con éxito la formación sobre el uso seguro de los diisocianatos antes de utilizar la(s) sustancia(s) o la(s) mezcla(s). 
  2. No deberán comercializarse como sustancias como tales o como componentes de otras sustancias o en mezclas para usos industriales y profesionales después del 24 de febrero de 2022, excepto si: 
    • la concentración de diisocianatos individualmente y en conjunto es inferior al 0,1 % en peso, o 
    • el proveedor garantiza que el destinatario de la(s) sustancia(s) o la(s) mezcla(s) ha recibido información sobre los requisitos a que se hace referencia en el punto 1, letra b), y que en el envase figura, de forma claramente separada del resto de la información de la etiqueta, la declaración siguiente: «A partir del 24 de agosto de 2023 es obligatorio tener la formación adecuada para proceder a un uso industrial o profesional».

Esto quiere decir que, bajo el amparo del REACH, las personas trabajadoras que utilicen diisocianatos en las condiciones que se indican, tendrán que haber recibido dicha formación específica con el contenido mínimo indicado en este Reglamento a la fecha establecida. 

Esta formación, está dividida en tres niveles. Un primer nivel, de carácter general para todos los usos (industriales y profesionales) que contiene información sobre los aspectos básicos de los diisocianatos, contemplando aspectos como la peligrosidad, los efectos para la salud, los valores límite, exposición y vías de entrada (tanto inhalatoria como dérmica); otro segundo nivel denominado “intermedio” para usos específicos que contempla, por ejemplo, riesgos de los procesos, de las tareas de mantenimiento y un tercer nivel o “avanzado“, que considera situaciones específicas como por ejemplo la pulverización fuera de cabina (ver anexo 1).

El material de formación lo debe elaborar el fabricante (según define el Reglamento REACH) así como advertir de la exigencia de formación en la ficha de datos de seguridad y en el embalaje (claramente indicado). Las autoridades competentes en materia de este Reglamento REACH serán las responsables de velar por el cumplimiento de los requisitos impuestos en dicha norma. Para cumplir con sus obligaciones, los fabricantes de diisocianatos a nivel europeo han elaborado material formativo disponible en su página web (https://safeusediisocyanates.eu/es/).

Elementos de la formación según el Reglamento: 

  • formación general, incluida la formación en línea, sobre: 
    • aspectos químicos de los diisocianatos; 
    • peligros de toxicidad (incluida la toxicidad aguda); 
    • exposición a los diisocianatos; 
    • valores límite de exposición profesional; 
    • cómo se desarrolla la sensibilización; 
    • el olor como indicador de peligro; 
    • importancia de la volatilidad para el riesgo; 
    • viscosidad, temperatura y peso molecular de los diisocianatos; 
    • higiene personal; 
    • equipos de protección individual necesarios, incluidas instrucciones prácticas para su correcto uso y sus limitaciones; 
    • riesgos de la exposición por contacto cutáneo e inhalación; 
    • riesgos relacionados con los procesos de aplicación utilizados; 
    • plan de protección cutánea y contra la inhalación; 
    • ventilación; 
    • limpieza, fugas, mantenimiento; 
    • eliminación de envases vacíos; 
    • protección de circunstantes; 
    • detección de las etapas críticas de manipulación; 
    • sistemas específicos de la normativa nacional (si procede); 
    • seguridad basada en el comportamiento; 
    • certificado o prueba documental de que se ha completado con éxito la formación; 
  • formación de nivel intermedio, incluida la formación en línea, sobre:
    • otros aspectos basados en el comportamiento; 
    • mantenimiento; 
    • gestión del cambio; 
    • evaluación de las instrucciones de seguridad existentes; 
    • riesgos relacionados con los procesos de aplicación utilizados; 
    • certificado o prueba documental de que se ha completado con éxito la formación; 
  • formación avanzada, incluida la formación en línea, sobre: 
    • toda certificación adicional necesaria para los usos específicos cubiertos; 
    • pulverización fuera de la correspondiente cabina; 
    • manipulación abierta de formulaciones calientes o muy calientes (> 45 °C); 
    • certificado o prueba documental de que se ha completado con éxito la formación.

Real Decreto 374/2001, de 6 de abril, sobre la protección de la salud y seguridad de los trabajadores contra los riesgos relacionados con los agentes químicos durante el trabajo.

El Real Decreto 374/2001 se aplicará en el caso de que se utilicen diisocianatos o productos que los contengan.

En su artículo 9 “Información y formación de los trabajadores”, determina, de conformidad con la Ley de Prevención de Riesgos Laborales, la necesidad de formación de los trabajadores con relación a agentes químicos. 

La formación que indica el real decreto de agentes químicos contempla el contenido de dicha formación de un modo más amplio que la específica del anexo XVII del Reglamento REACH. La formación del reglamento se refiere exclusivamente al manejo y uso seguro de los diisocianatos mientras que la formación especificada en el artículo 9 del real decreto debe contemplar otra información, como, por ejemplo, la presencia simultánea de otras sustancias químicas y la exposición combinada, requisitos legales de aplicación, los resultados de la evaluación de riesgos, las medidas de prevención y control, entre otros. En el caso de los diisocianatos se deberá cumplir con los requisitos de formación de ambos marcos normativos. 

Por otro lado, el empresario está obligado a realizar la evaluación de riesgos teniendo en cuenta la presencia de agentes químicos presentes en los puestos de trabajo, incluyendo además de los diisocianatos, cualquier otra sustancia peligrosa presente y además, las posibles interacciones entre ellos. Esto es, la exposición combinada en caso de haber presencia de otros productos peligrosos.

Las medidas de control necesarias vendrán determinadas por el resultado de la evaluación de riesgos y se tendrán en cuenta todos los productos peligrosos presentes, así como su forma de uso y exposiciones de las personas trabajadoras.

La autoridad laboral será la responsable de velar por el cumplimiento de lo establecido en este real decreto y en la Ley de Prevención de Riesgos 
Laborales.

 

BIBLIOGRAFÍA

Analytical methods for chemical agents at Workplaces https://amcaw.ifa.dguv.de/WForm09.aspx

ANNEXES to the proposal for a Directive of the European Parliament and of the Council amending Council Directive 98/24/EC and Directive 2004/37/EC of the European Parliament and of the Council as regards the limit values for lead and its inorganic compounds and diisocyanates.

Bello D, Herrick CA, Smith TJ, Woskie SR, Streicher RP, Cullen MR, Liu Y, Redlich CA. Skin exposure to isocyanates: reasons for concern. Environ Health Perspect. 2007 Mar;115(3):328-35. doi: 10.1289/ehp.9557. Epub 2006 Nov 28. PMID: 17431479; PMCID: PMC1849909.

Bello D, Redlich CA, Stowe MH, Sparer J, Woskie SR, Streicher RP, Hosgood HD, Liu Y. Skin exposure to aliphatic polyisocyanates in the auto body repair and refinishing industry: II. A quantitative assessment. Ann Occup Hyg. 2008 Mar;52(2):117-24. doi: 10.1093/annhyg/mem066. Epub 2008 Jan 21. PMID: 18209009.

Dag Rother, Urs Schlüter, Occupational Exposure to Diisocyanates in the European Union, Annals of Work Exposures and Health, Volume 65, Issue 8, October 2021, Pages 893–907, https://doi.org/10.1093/annweh/wxab021

European Chemicals Agency ECHA ANNEX 1: in support of the Committee for Risk Assessment (RAC) for evaluation of limit values for diisocyanates at the workplace

Guide to handling isocyanates, Safeworkaustralia (2015): https://www.safeworkaustralia.gov.au/system/files/documents/1702/guide-to-handling-isocyanates.pdf

Isocyanate paint spraying https://www.hse.gov.uk/pubns/priced/hsg276.pdf

ISOPA/ALIPA: https://safeusediisocyanates.eu/es/

Lockey JE, Redlich CA, Streicher R, Pfahles-Hutchens A, Hakkinen PB, Ellison GL, Harber P, Utell M, Holland J, Comai A, White M. Isocyanates and human health: multistakeholder information needs and research priorities. J Occup Environ Med. 2015 Jan;57(1):44-51. doi: 10.1097/JOM.0000000000000278. Erratum in: J Occup Environ Med. 2015 Mar;57(3):e24. PMID: 25563538; PMCID: PMC4286799.

Methods for the Determination of Hazardous Substances (MDHS) guidance https://www.hse.gov.uk/pubns/mdhs/

MTA/MA-034/A95 Determinación de isocianatos orgánicos (2,6 y 2,4-toluen-diisocianato, hexametilendiisocianato, 4,4’-difenilmetano-diisocianato) en aire - Método de derivación y doble detección ultravioleta y electroquímica/Cromatografía líquida de alta resolución

National Institute for Occupational Safety and Health (NIOSH): Isocyanates: https://www.cdc.gov/niosh/topics/isocyanates/default.html

NIOSH NIOSH Manual of Analytical Methods (NMAM) 5th Edition (https://www-cdc-gov.translate.goog/niosh/nmam/default.html?_x_tr_sl=en&_x_tr_tl=es&_x_tr_hl=es&_x_tr_pto=nui,sc)

North CM, Ezendam J, Hotchkiss JA, Maier C, Aoyama K, Enoch S, Goetz A, Graham C, Kimber I, Karjalainen A, Pauluhn J, Roggen EL, Selgrade M, Tarlo SM, Chen CL. Developing a framework for assessing chemical respiratory sensitization: A workshop report. Regul Toxicol Pharmacol. 2016 Oct;80:295-309. doi: 10.1016/j.yrtph.2016.06.006. Epub 2016 Jul 7. PMID: 27396307.

Occupational Safety and Health Administration (OSHA) de Estados Unidos: Isocyanates: https://www.osha.gov/isocyanates

Pauluhn J. Development of a respiratory sensitization/elicitation protocol of toluene diisocyanate (TDI) in Brown Norway rats to derive an elicitation-based occupational exposure level. Toxicology. 2014 May 7;319:10-22. doi: 10.1016/j.tox.2014.02.006. Epub 2014 Feb 23. PMID: 24572447.

Piirilä PL, Nordman H, Keskinen HM, Luukkonen R, Salo SP, Tuomi TO, Tuppurainen M. Long-term follow-up of hexamethylene diisocyanate-, diphenylmethane diisocyanate-, and toluene diisocyanate-induced asthma. Am J Respir Crit Care Med. 2000 Aug;162(2 Pt 1):516-22. doi: 10.1164/ajrccm.162.2.9909026. PMID: 10934080.

Prevención de asma y muertes por exposición a diisocianatos: https://www.cdc.gov/spanish/niosh/docs/96-111_sp/default.html

Proposal for a DIRECTIVE OF THE EUROPEAN PARLIAMENT AND OF THE COUNCIL amending Council Directive 98/24/EC and Directive 2004/37/EC of the European Parliament and of the Council as regards the limit values for lead and its inorganic compounds and diisocyanates

Real Decreto 374/2001, de 6 de abril, sobre la protección de la salud y seguridad de los trabajadores contra los riesgos relacionados con los agentes químicos durante el trabajo.

Reglamento (CE) nº 1907/2006 del Parlamento Europeo y del Consejo, de 18 de diciembre de 2006, relativo al registro, la evaluación, la autorización y la restricción de las sustancias y mezclas químicas, (REACH)

DIRECTIVA (UE) 2024/869 DEL PARLAMENTO EUROPEO Y DEL CONSEJO de 13 de marzo de 2024 por la que se modifican la Directiva 2004/37/CE del Parlamento Europeo y del Consejo, y la Directiva 98/24/CE del Consejo, en lo que respecta a los valores límite para el plomo y sus compuestos inorgánicos y para los diisocianatos

Agradecimientos a:

  • Laura Merino (FEIQUE)
  • Elena Adán (BASF)
  • Iván Pujol (Covestro)