Nota técnica de prevención - NTP 803

Notas Técnicas de Prevención 803 Encofrado horizontal: protecciones colectivas (I) Año: 2008 Las NTP son guías de buenas prácticas.
Sus indicaciones no son obligatorias salvo que estén recogidas en una disposición normativa vigente.
A efectos de valorar la pertinencia de las recomendaciones contenidas en una NTP concreta es conveniente tener en cuenta su fecha de edición.
Coffrage horizontal: protections collectives Horizontal Formwork: collective protections Redactor: José Mª Tamborero del Pino Ingeniero Industrial CENTRO NACIONAL DE CONDICIONES DE TRABAJO Se presenta una serie de tres Notas Técnicas de Prevención referentes a los riesgos existentes en tareas de encofrado horizontal y de las protecciones colectivas e individuales a considerar frente a tales riesgos.

NIPO: 792-08-008-8

Autor: Instituto Nacional de Seguridad y Salud en el Trabajo (INSST), O.A., M.P.

Contiene: 6 páginas

Descargar PDF (537,8 KB)

Contenido relacionado

Contenido del documento en formato texto

Notas Técnicas de Prevención 803 Encofrado horizontal: protecciones colectivas (I) Año: 2008 Las NTP son guías de buenas prácticas.
Sus indicaciones no son obligatorias salvo que estén recogidas en una disposición normativa vigente.
A efectos de valorar la pertinencia de las recomendaciones contenidas en una NTP concreta es conveniente tener en cuenta su fecha de edición.
Coffrage horizontal: protections collectives Horizontal Formwork: collective protections Redactor: José Mª Tamborero del Pino Ingeniero Industrial CENTRO NACIONAL DE CONDICIONES DE TRABAJO Se presenta una serie de tres Notas Técnicas de Prevención referentes a los riesgos existentes en tareas de encofrado horizontal y de las protecciones colectivas e individuales a considerar frente a tales riesgos.
1.
OBJETIVO El objetivo de esta N.T.P. es describir diferentes tipos de protecciones colectivas a utilizar en el montaje, desmontaje y utilización de diversos sistemas de encofrado horizontal en obra, también definidos en este documento.
Además se indican los factores de riesgo de accidente y las causas que los generan.
Las medidas de prevención y protección colectiva se restringen a la protección de los riesgos de caída de altura de personas y caída de objetos.
No se contempla, en general, el montaje de los distintos sistemas de encofrado.
2.
DEFINICIONES. ENCOFRADO HORIZONTAL Y COMPONENTES Los encofrados horizontales se construyen con tres tipos distintos de ejecución: de cabezal de caída, de mesas y tipo mecano El encofrado de cabezal de caída es un encofrado ligero, habitualmente de paneles enmarcados en aluminio, orientado a la ejecución de forjados de losa maciza de gran superficie y buen acabado.
El desencofrado se realiza a través de los cabezales de caída quedando únicamente estos elementos como material portante.
Ver Fig.
1 Figura 1.
Encofrado de cabezal de caída El encofrado de mesas es un encofrado destinado a la ejecución de grandes forjados de superficie regular y repetitiva donde el encofrado se monta al inicio de la obra y se traslada, sin desmontar, de una zona a otra de la misma.
Ver Fig.
2 Figura 2.
Encofrado de mesas El encofrado tipo mecano es un encofrado consistente en un mecano de acero, madera o aluminio de fácil montaje y adaptable a cualquier superficie, formando una base plana y resistente que permite la construcción de forjados planos de hormigón armado, macizados y aligerados.
En ocasiones se podrá diseñar con sistemas de cimbra como estructuras de sustentación.
Este sistema se aplica en la ejecución de edificios de varias plantas y también para plantas de grandes dimensiones, en las que sea conveniente hormigonar en varias fases, permitiendo un máximo aprovechamiento, pues sólo es necesario el material para encofrado de una planta y el apuntalado de una, dos o tres plantas más.
Ver.
Fig.
3 Tablero alisan Sopanda Basculante con madera Sopanda intermedia Por tada sopanda Trípode Puntal Figura 3.
Encofrado Tipo mecano 2 Notas Técnicas de Prevención Componentes Los principales componentes de los encofrados horizontales se describen a continuación.
Correas reticular, longitudinal o sopanda Estos elementos sirven para soportar el peso propio del forjado a hormigonar y la sobrecarga técnica.
También sirven para alojar los soportes de seguridad y para repartir la carga de los puntales cuando estos quedan apeando la planta durante el fraguado del hormigón.
Su perfil debe conferir la adecuada resistencia para la cual ha sido diseñada, y sus extremos estarán provistos de un enganche resistente que facilite su montaje.
En su parte inferior se encuentran los pivotes para colocación adecuada de los puntales y el reparto correcto de cargas Portacorreas reticular, transversales o portasopanda Elemento que sirve de guía para la ubicación de las correas a unas distancias predeterminadas y su nivelación posterior.
De modo equivalente a las correas-portacorreas podrán disponerse perfiles de acero laminado (IPN, UPN, HEB,…) o vigas de madera en las dimensiones apropiadas a las cargas a soportar.
Cabezal recuperable o basculante Elemento diseñado para la rápida recuperación parcial del encofrado.
Provisto de un pasador que facilita su montaje y desmontaje en el momento de retirar los tableros sobre los que se apoyan.
Estas piezas se alojan en la correa por medio de un pasador.
En ocasiones está provisto de madera embutida que facilita el clavado del tablero para evitar desplazamientos y suelen poseer un seguro para evitar un desmontaje involuntario.
Se colocan en el longitudinal por medio de una cuña.
Facilitan el clavado de la madera en remates, y para evitar desplazamientos no deseados de la superficie encofrante en finales de forjado, se dispone también del soporte seguridad con listón de madera.
Cabezal de carga Elemento de sustentación en forma de horquilla o en U. Ver Fig.
4.
Tableros Son elementos de forma rectangular, habitualmente de madera, que se emplean para cubrir el mecano o estructura metálica, formando una superficie lisa y resistente para la primera fase del fraguado del hormigón.
Sus dimensiones son variadas y pueden disponer de elementos de refuerzo para aumentar su resistencia.
Cabezal de caída Cabezal que mediante un giro de cuña permite la retirada, sin dejar caer al suelo, del encofrado recuperable quedando como único elemento portante junto al apeo.
Ver Fig.
1.
3.
FASES, RIESGOS Y FACTORES DE RIESGO Las fases y/o secuencias más importantes en la utilización de encofrado horizontal asociados a los riesgos de caída de altura de personas y caída de objetos son: • Montaje de la estructura de encofrado • Movimiento de cargas • Montaje de superficie encofrante • Montaje de tabicas • Ferrallado • Montaje de aligeramientos • Hormigonado • Desencofrado • Montaje y desmontaje de protecciones colectivas • Montaje y desmontaje de equipos auxiliares 3 Notas Técnicas de Prevención Detalle del cabezal de carga Cabezal oscilante Cabezal en horquilla Figura 4.
Conjunto de cabezales de carga y correas superiores mediante vigas de madera, sobre sistema de cimbra.
Los riesgos y factores de riesgo que se pueden presentar en las distintas fases de trabajo descritas son: • Caídas de personas a distinto nivel debidas a: Selección, dimensionado y utilización de un encofrado inadecuado Utilización de tableros torsionados en la formación de la superficie de encofrado Empleo de tableros agrietados o de resistencia insuficiente Trabajar junto al borde de forjado Existencia de huecos en forjado Remate de encofrado en perímetro de pilares no apuntalado Rotura de bovedillas Arriostramiento horizontal deficiente Acceso a la superficie de trabajo deficiente o inexistente Protecciones perimetrales inexistentes, incompletas, etc.
Deslizamiento de la superficie encofrada por falta de enclavamiento, etc.
Mala utilización de equipos auxiliares y escaleras de mano • Caída de objetos por desplome, manipulación o desprendidos a distinto nivel debidos a: Sistema de triangulación o arriostramiento incorrecto o insuficiente Desencofrado prematuro Vertido del hormigón desigual Sistema sometido a solicitaciones horizontales, acopios diversos descontrolados, condiciones atmosféricas adversas, etc.
, arriostrado deficientemente Rotura de elementos auxiliares del sistema de elevación Estrobado de cargas incorrecto Rotura de elementos del encofrado en mal estado o mal montados Instalación incorrecta del material de encofrado Desencofrado incorrecto Los factores de riesgo descritos estarán asociados a las diferentes fases y secuencias anteriormente descritas, al tipo de encofrado y a la metodología de utilización seleccionada.
4.
MEDIDAS DE PREVENCIÓN Y PROTECCIÓN COLECTIVAS Las medidas de prevención y protección frente a los riesgos de caída de personas y objetos a distinto nivel se concretan en la descripción de distintas medidas de protección colectiva.
Barandilla de protección Es el conjunto de componentes destinados a proteger a las personas del riesgo de caída de altura y retener materiales de origen diverso.
La protección perimetral está compuesta por una barandilla principal, una barandilla intermedia y un rodapié además del sistema de anclaje para alojar los pies de la barandilla.
Alternativamente existen sistemas de protección equivalente tales como barreras de protección de tipo mallazo.
Los elementos de protección no deben ser extraíbles salvo por una acción directa intencionada.
Las características dimensionales y de resistencia de las barandillas se reflejan en la Tabla 1 y en la figura 5, teniendo en cuenta que todas las alturas mínimas están referenciadas respecto al nivel del piso de trabajo.
Para la elección de los distintos tipos de barandillas existentes en el mercado se considera importante tener en cuenta que el sistema seleccionado se adapte lo máximo a la secuencia del sistema constructivo, ya que en caso contrario se podrían generar situaciones de riesgo muy grave.
Clasificación Considerando las cargas que el sistema puede soportar y la pendiente de la superficie de trabajo las barandillas de protección se clasifican en (ver Tabla 2): • Clase A: Sistema de protección de borde que sólo proporciona resistencia frente a cargas estáticas Barandillas ≤ 470 1000 ± 50 ≤ 470 Cotas en mm Figura 5.
Dimensiones de las barandillas en obra 4 Notas Técnicas de Prevención Clase A 45º 30º 60º 5 m 2 m 10º Altura de caída Inclinación de superficie de trabajo Clase B Clase C Tabla 2.
Clases para utilizar en diferentes inclinaciones y alturas de caída Tabla 1.
Barandillas de protección.
Características dimensionales y de resistencia BARANDILLA DE SEGURIDAD PANTALLA O MÓDULO ENREJADO METÁLICO Altura pasamanos tubular 1000 mm ±50 mm Altura barra intermedia 470 mm mín.
Rodapié 150 mm Resistencia Según UNE-EN 13374:2004 Apartado 6 Orificios o ranuras ≤ 100 cm2 excepto si el lado de la ranura < 50 mm Altura del módulo 1000 mm con el objeto de soportar el peso de una persona que se apoye sobre la protección, sujeción de la mano cuando camina junto a ella y detención de una persona cuando camina o cae en dirección a la protección.
• Clase B: Sistema de protección de borde que proporciona resistencia a cargas estáticas y fuerzas dinámicas de baja intensidad con el objeto de soportar una persona que se apoye en ella o para sujetar su mano mientras camina, detener una persona que camina o cae en dirección a la protección y detener una persona que se desliza por una superficie inclinada.
• Clase C: Proporciona resistencia para fuerzas dinámicas elevadas basadas en los requisitos para detener la caída de una persona que se resbala por una superficie de fuerte pendiente.
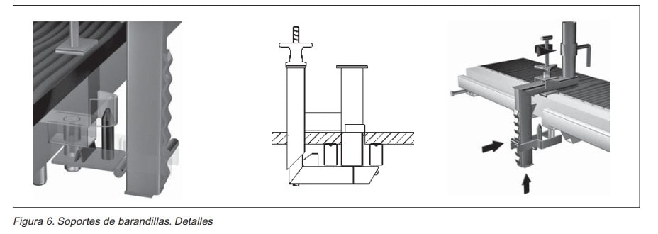
Pie de barandilla, montante o guardacuerpos Es el soporte principal vertical del sistema de protección de borde al cual se sujetan las barandillas y plintos.
Generalmente está fabricado en tubo de acero de sección circular o cuadrangular que dispone a diferentes alturas de piezas que posibilitan la fijación de la barandilla superior e intermedia y el rodapié.
Ver Fig.
6.
Figura 6.
Soportes de barandillas.
Detalles Existen diferentes tipos de pie de barandilla como sargentos o pies cuya fijación se realiza mediante tornillos, puntos de anclaje integrados en la estructura, etc.
Es importante tener en cuenta que estos sistemas deben estar acordes a la metodología de ejecución seleccionada y que deberán cumplir con las cargas y resistencias especificadas en la Tabla 1 acreditadas por el fabricante o mediante certificación de una entidad acreditada.
5 Notas Técnicas de Prevención Partes de una barandilla La barandilla se compone de varias partes: barandilla superior o principal, barandilla intermedia y rodapié.
La barandilla superior o principal es un larguero o elemento continuo que forma la parte superior del sistema de protección de borde.
Está destinada a proporcionar sujeción utilizando la mano y a cortar la trayectoria de movimiento de un trabajador que se dirigiera hacia el borde a proteger, impidiendo la caída.
La barandilla intermedia es un larguero colocado entre la barandilla superior y la superficie de trabajo.
El rodapié es un elemento vertical específicamente previsto para prevenir la caída o deslizamiento de las personas o materiales desde la superficie de trabajo.
El borde superior del rodapié estará situado como mínimo a 150 mm por encima de la superficie de trabajo.
Sistemas de anclaje para alojamiento de pies de barandilla Los distintos sistemas deberán garantizar los requisitos especificados en la Tabla I, tanto para fijado a encofrado como a forjado, siendo recomendable el conjunto previsto por cada fabricante El alojamiento en mecano de encofrado es un sistema que se aloja en el mecano del encofrado directamente.
Ver Fig.
7 Figura 7.
Anclaje por alojamiento en mecano de encofrado El cabezal de seguridad o soporte guardacuerpos es una pieza incorporable o que forma parte de la estructura metálica del encofrado que permite la instalación de las barandillas de protección en el perímetro del encofrado.
Ver Fig.
8 Soporte Pie y largueros de barandillas sobre el cabezal de seguridad Montaje de rodapiés Figura 8.
Soporte y montaje de barandillas y rodapiés en cabezal de seguridad Sistemas de fijado al forjado Para la fijación al forjado se emplean cartuchos de plástico técnico o bien casquillos fabricados con chapa y tubo de acero (Ver fig.
9).
Detalle de tipos de cartuchos para guardacuerpos Figura 9.
Sistema de fijado al forjado mediante cartuchos.
Detalle de la colocación del taco de forjado Los cartuchos de plástico técnico se introducen en el hormigón fresco.
Están provistos de tapones que se deben asegurar para que no entre hormigón en su interior.
En su instalación se debe tener la precaución de introducirlos verticalmente, a una distancia siguiendo las instrucciones del fabricante.
Los casquillos fabricados con chapa y tubo de acero se anclan al soporte (forjado) mediante tornillos embebidos en tacos de expansión, a la distancia según las instrucciones del fabricante.
6 Notas Técnicas de Prevención También existen sistemas de fijación a forjado mediante mordaza.
Fig.
10.
Instalación en forjados Instalación en peto Figura 10.
Sistema de fijación a forjado mediante mordaza Andamio perimetral de protección de componentes prefabricados Los andamios de componentes prefabricados son estructuras tubulares provisionales que se presentan en diversas variantes y sistemas modulares y que debidamente dispuestos proporcionan un área segura de trabajo y de protección.
Según se haya planificado y definido su uso los andamios pueden cumplir simultáneamente la función de habilitar superficies de trabajo, sustentación de carga, protección perimetral, recorrido de servicio (como medio de acceso de operarios y/o materiales a forjado), equipo móvil auxiliar, etc.
Dispuestos como protección perimetral deberán adecuarse a las características descritas en el punto 4 dentro del apartado de barandilla de protección.
Reservados todos los derechos.
Se autoriza su reproducción sin ánimo de lucro citando la fuente: INSHT, nº NTP, año y título.
NIPO: 792-08-008-8