NTP 0824: Clasificación de equipos utilizados para la elevación de cargas, con maquinaria de elevación - Año 2009

Nota Técnica de Prevención 0824
 
Título:
Clasificación de equipos utilizados para la elevación de cargas, con maquinaria de elevación
 
Elaborado por: 
José Ignacio Beitia 
Julián Virto 
Jorge Cortés 
Centro Nacional de Verificación de Maquinaria (INSHT)
 
Resumen: 
Esta Nota Técnica trata de ofrecer criterios para una aplicación coherente del término “accesorio de elevación”, defi nido en la Directiva Máquinas 98/37/CE, así como en la nueva Directiva Máquinas 2006/42/CE, mediante una serie de ejemplos recogidos en el documento WG-2006.13 rev2 “Classifi cation of equipment used for lifting loads wite lifting machinery”, aprobado por el Grupo Máquinas, establecido por dicha directiva, indicando qué equipos utilizados para la elevación de cargas con maquinaria de elevación se consideran accesorios de elevación y cuáles no.
 

NIPO: 792-09-063-6

Autor: Instituto Nacional de Seguridad e Higiene en el Trabajo (INSHT)

Contiene: 6 páginas

Descargar PDF (609,6 KB)

Contenido relacionado

Contenido del documento en formato texto

Las NTP son guías de buenas prácticas. Sus indicaciones no son obligatorias salvo que estén recogidas en una disposición normativa vigente. A efectos de valorar la pertinencia de las recomendaciones contenidas en una NTP concreta es conveniente tener en cuenta su fecha de edición.

 

1. INTRODUCCIÓN

En relación con las operaciones de elevación de cargas, la Directiva “Máquinas” 98/37/CE (texto refundido de la Directiva 89/392/CEE y sus modificaciones 91/368/CEE, 93/44/CEE y 93/68/CEE, traspuestas al derecho nacional por el Real Decreto 1435/1992, de 27 de noviembre, modificado por el Real Decreto 56/1995, de 20 de enero), incluye implícitamente en su campo de aplicación los accesorios de elevación, estableciendo requisitos esenciales de seguridad y de salud aplicables a dichos accesorios en general y otros específicos para los accesorios de eslingado, así como definiciones separadas para ambos conceptos. 

En la nueva Directiva “Máquinas” 2006/42/CE, que sustituirá a la Directiva 98/37/CE a partir del 29 de diciembre de 2009, transpuesta al derecho nacional por el Real Decreto 1644/2008, de 10 de octubre, se hace un tratamiento más coherente sobre esta materia ya que incluye explícitamente a los accesorios de elevación en su campo de aplicación y establece una sola definición de accesorio de elevación, en la que quedan incluidas las eslingas y sus componentes, tales como cadenas, cables, cinchas, ganchos y otros elementos. 

En cualquier caso, es tan amplia la gama de productos que se utilizan para la elevación de cargas, que, ciertamente, surgen muchas dudas a la hora de encuadrarlos o no como accesorios de elevación, lo que puede confundir a sus fabricantes, en cuanto a la reglamentación a aplicar y a los usuarios, en cuanto a la reglamentación a exigir. 

Para contribuir a una aplicación uniforme, en todos los Estados miembros de la Comunidad Europea, del concepto de accesorio de elevación, el Grupo Máquinas, establecido por la Directiva 98/37/CE, ha plasmado sus criterios en su documento WG-2006.13rev2: “Classifi cation of equipment used for lifting loads with lifting machinery”, en el que se ofrecen diversos ejemplos de equipos que se consideran accesorios de elevación y de equipos que no se consideran como tales. 

La presente Nota Técnica de Prevención, tiene por objeto clasificar los equipos utilizados para la elevación de cargas, con maquinaria de elevación, contemplados en dichos ejemplos, en los que se describen brevemente las características de los distintos equipos; indicando, si ha lugar, la referencia de la norma armonizada en la que se contempla cada equipo. Asimismo, se indica exclusivamente la reglamentación aplicable con vistas a su comercialización y puesta en servicio ya que esta NTP está destinada principalmente a los equipos que se pueden encontrar en el mercado, todo ello conforme a los criterios establecidos en el documento mencionado anteriormente. 

Los criterios ofrecidos en esta Nota Técnica, permiten clasificar otros muchos equipos utilizados para la elevación de cargas, que por analogía, pueden encuadrarse en alguno de los ejemplos considerados.


2. DEFINICIONES

A continuación se recogen las definiciones pertinentes para los fines de esta NTP, establecidas en la Directiva Máquinas.

Accesorio de elevación (Directiva 98/37/CE)

Componente o equipo no unido a la máquina y situado entre la máquina y la carga, o encima de la carga, que permite la prensión de la carga.

 

Accesorio de eslingado (Directiva 98/37/CE)

Accesorio de elevación que sirve para la fabricación o la utilización de una eslinga, como son los ganchos corvados, grilletes, anillos, argollas, etc.

 

Accesorio de elevación, (Directiva 2006/42/CE)

Componente o equipo que no es parte integrante de la máquina de elevación, que permita la prensión de la carga, situado entre la máquina y la carga, o sobre la propia carga, o que se haya previsto para ser parte integrante de la carga y se comercialice por separado. También se considerarán accesorios de elevación las eslingas y sus componentes.

 

3. ACCESORIOS DE ELEVACIÓN

Para la elevación de cargas con maquinaria de elevación es preciso utilizar ciertos accesorios que se relacionan a continuación. 

 

Eslinga textil y sus componentes

Conjunto de uno o más componentes de cinta cosida, para unir las cargas al gancho de una grúa u otra máquina de elevación. 

Este tipo de equipo se contempla en las partes 1, 2 y 4 de la norma EN 1492 “Eslingas textiles.
Seguridad:

  • Parte 1: Eslingas de fibras tejidas planas, fabricadas con fibras químicas, para uso general.
  • Parte 2: Eslingas redondas, fabricadas con fibras químicas, para uso general.
  • Parte 4: Eslingas de elevación fabricadas con cuerdas de fibras naturales y químicas, para uso general”.

Eslinga de cable de acero y sus componentes

Conjunto constituido por uno o varios ramales individuales de cables de acero o por una eslinga sin fin, para unir las cargas al gancho de una grúa u otra máquina de elevación. 

Este tipo de equipo se contempla en las partes 1, 2 y 3 de la norma EN 13414 “Eslingas de cable de acero.
Seguridad:

  • Parte 1: Eslingas para aplicaciones generales de elevación.
  • Parte 2: Especificación sobre la información acerca de la utilización y el mantenimiento a suministrar por el fabricante.
  • Parte 3: Eslingas sin fin y eslingas de cuerda”.


Eslinga de cadena y sus componentes 

Conjunto constituido por una o varias cadenas, para unir las cargas al gancho de una grúa u otra máquina de elevación. 

Este tipo de equipo se contempla en las partes 1 a 7 de la norma EN 818: “Ca denas de elevación de esla bón corto.
Seguridad:

  • Parte 1: Condiciones ge nerales de recepción.
  • Parte 2: Cadenas no ca libradas para eslingas de cadena. Clase 8.
  • Parte 3: Cadenas no ca libradas para eslingas de cadena. Clase 4.
  • Parte 4: Eslingas de cadena. Clase 8.
  • Parte 5: Eslingas de cadena. Clase 4.
  • Parte 6: Eslingas de cadena. Especificación de la infor mación acerca de la utilización y el mantenimiento que debe suministrar el fabricante.
  • Parte 7: Cadena calibrada para polipastos. Clase T (tipos T, DAT y DT).



Cáncamo 1.-

Anillo, destinado a ser roscado en la carga, con el fin de elevarla.


Cáncamo para soldar 1

Anillo destinado a ser soldado a la carga, con el fin de elevarla.


Oreja de elevación (orejeta) 1

Placa de acero perforada destinada a ser soldada a la carga, con el fin de elevarla. 


Anclaje de elevación 1

Accesorio destinado a ser integrado en una estructura (por ejemplo, bloque de hormigón, panel de hormigón) con el fin de proporcionar un anclaje para la elevación de la estructura.


Gazas de fibra 1

Gazas frecuentemente de fibras artificiales, destinadas a ser amarradas a elementos prefabricados para construcción con el fin de elevarlos. 


Accesorios para contenedores 1

Accesorios destinados a ser integrados en cada una de las cuatro esquinas de un contenedor ISO, mediante soldadura, con el fin de elevarlo.



1.- Este equipo se considera accesorio de elevación si se co mercializa por separado.

 

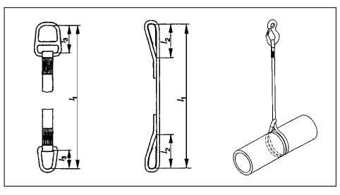
Gancho C 2

Accesorio en forma de “C” utilizado para la elevación de cargas huecas, por ejemplo, bobinas, tubos, etc. 

Este tipo de equipo se contempla en la norma EN 13155 “Grúas.  Seguridad. Equipos amovibles de elevación de carga”.

Pinza 2

Accesorio utilizado para manejar cargas apretando sobre una parte específica de la carga, también conocido como tenaza. 

Este tipo de equipo se contempla en la norma EN 13155. 


Viga de suspensión 2

Accesorio compuesto por uno o varios miembros equipados con uno o más puntos de amarre para facilitar el manejo de las cargas que requieren soporte en varios puntos. 

Este tipo de equipo se contempla en la norma EN 13155.


Bastidor portacontenedores (Spreader) 2

Estructura para la prensión de contenedores que se coloca entre la máquina y la carga, con el fin de sujetarla.


Horquilla de elevación 2

Accesorio consistente en dos o más brazos fijados a un montante con un brazo superior, esencialmente para elevar cargas paletizadas o similares. 

Este tipo de equipo se contempla en la norma EN 13155. 


Pinza de chapas 2

Dispositivo no accionado (no motorizado) utilizado para manejar chapas de acero apretándolas entre las garras. 

Este tipo de equipo se contempla en la norma EN 13155. 


Imán de elevación  2

Accesorio con un campo magnético que produce una fuer za suficiente para la prensión, retención y manejo de cargas con propiedades ferromagnéticas. 

Este tipo de equipo se contempla en la norma EN 13155.
 


Sistema de presión por vacío (ventosas neumáticas) 2

Accesorio que comprende una o más ventosas neumáticas actuando por vacío. 

Este tipo de equipo se contempla en la norma EN 13155.


2. Este equipo se considera accesorio de elevación si no está unido o fijado permanentemente a la maquinaria de elevación, es decir, cuando la máquina se puede utilizar para elevar cargas sin el equipo o con otros accesorios de elevación.


4. OTROS EQUIPOS UTILIZADOS PARA LA ELEVACIÓN DE CARGAS CON MAQUINARIA DE ELEVACIÓN

A los equipos descritos a continuación no se les aplica la Directiva Máquinas 98/37/CE (no se consideran accesorios de elevación, sino equipos que forman parte de la carga ya que, independientemente de que se puedan elevar, no realizan la prensión de la carga, sino que su función fundamental es la de empaquetar o contener una carga a granel o en estado líquido), salvo que dispongan de algún tipo de accionamiento motorizado, como puede ser el caso del mecanismo de basculamiento de una cuchara de colada o de una cubeta para hormigón, en cuyo caso son máquinas y, como tales, se les aplica dicha directiva. 

 

Red de carga / red de elevación

Red empleada para la elevación de bultos de tamaño pequeño/medio, agrupados.


Saca reutilizable

Costal muy grande (conocido como big bag), específicamente destinado a la elevación de material a granel o de escombros y que no se utiliza para empaquetado, almacenamiento o transporte. 


Saca de un solo uso

Costal muy grande (conocido como big bag) de un solo uso, utilizado para empaquetar material a granel para su transporte y almacenamiento, que puede ser elevado con el fin de desempaquetar el material. 


Cuchara de colada

Recipiente basculante con mecanismo de basculación de accionamiento manual o motorizado, destinado a contener, transportar y descargar el material fundido con maquinaria de elevación. 

Este tipo de equipo se contempla en la norma EN 1247 “Maquinaria para fundición. Requisitos de seguridad para cucharas de colada, equipos de colada, máquinas de fundición centrífugas, máquinas de fundición con solidificación continua y semicontinua”.


Cubeta para hormigón

Recipiente que se cuelga de una grúa para transportar y distribuir hormigón en una obra de construcción. 

Carretilla manual elevable (carro chino)

Carretilla con cáncamos destinada al transporte y aplicación de hormigón y mortero en una obra de construcción.


Cubeta para escombros

Recipiente específicamente destinado a transportar escombros en una obra de construcción con una grúa y descargarlos sin desengancharlo de la grúa. 

Contenedor

Recipiente provisto de cáncamos para la operación de elevación, utilizado para el transporte y el almacenamiento de productos. 

Tal como se ha indicado en el apartado sobre cáncamos, si los cáncamos acoplados al contenedor se comercializan por separado, éstos son accesorios de elevación. 

Contenedor para material a granel

Contenedor utilizado, por ejemplo, para recoger desperdicios en un lugar y después subirlo a un vehículo y transportarlo a otro lugar donde se descarga.

NOTA: La eslinga de cadena mostrada en la figura no forma parte del contenedor.

Contenedor ISO

Recipiente de carga para el transpor te aéreo, marítimo o terrestre, que dispone, en cada una de sus esquinas, de alojamientos para los accesorios de elevación indicados en el apartado sobre accesorios para contenedores. 


Paleta para carretillas de manutención

Armazón para la manutención de cargas especialmente diseñado para facilitar, por su parte inferior, la entrada de las horquillas de las carretillas de manutención.


5. REGLAMENTACIÓN

A efectos reglamentarios debe distinguirse entre los accesorios de elevación y otros equipos utilizados para la elevación de cargas con maquinaria de elevación. 

 

Accesorios de elevación

Para los accesorios de elevación, incluidos los accesorios de eslingado, comercializados o puestos en servicio en la Unión Europea a partir del 1 de enero de 1995, se aplican las disposiciones de la Directiva “Máquinas” 98/37/CE (texto refundido de la Directiva 89/392/CEE y sus modificaciones 91/368/CEE, 93/44/CEE y 93/68/CEE, traspuestas al derecho nacional por el Real Decreto 1435/1992, de 27 de noviembre, modificado por el Real Decreto 56/1995, de 20 de enero). 

En particular, se aplican los requisitos esenciales de seguridad y de salud de los apartados 4.1.2.3, 4.1.2.5, 4.3.1, 4.3.2 y 4.4.1 del Anexo I de dicha directiva.

Conforme a esta normativa los accesorios de elevación deben disponer de una declaración CE de conformidad, cuyo contenido se indica en el Anexo II a) y de un manual de instrucciones y deben llevar el marcado CE.

A partir del 29 de diciembre de 2009, se aplica la Directiva 2006/42/CE, transpuesta al derecho nacional por el Real Decreto 1644/2008, de 10 de octubre, en la que se mantienen las referencias de los requisitos esenciales, así como las obligaciones relativas al manual de instrucciones, a la declaración CE de conformidad y al marcado CE.

 

Otros equipos utilizados para la elevación de cargas con maquinaria de elevación

Los equipos descritos en el apartado 4 no se encuentran dentro del ámbito de aplicación de la Directiva “Máquinas” 98/37/CE. En todo caso, sería de aplicación la Directiva 2001/95/CE sobre Seguridad General de los Productos, transpuesta al derecho nacional por el Real Decreto 1801/2003, de 26 de diciembre, que obliga a los distribuidores a distribuir sólo productos seguros, conformes con normas europeas, internacionales o nacionales que les sean de aplicación o, en su defecto, conformes a los cálculos estructurales y a los ensayos que considere oportunos, no suministrando productos cuando sepan, o debieran saber, por la información que poseen y como profesionales, que no cumplen tal requisito. 

Esta última Disposición no exige el marcado CE de los productos.

 


BIBLIOGRAFÍA

(1) Directiva “Máquinas” 98/37/CE (texto refundido de la Directiva 89/392/CEE y sus modificaciones 91/368/CEE, 93/44/ CEE y 93/68/CEE, traspuestas al derecho nacional por el Real Decreto 1435/1992, de 27 de noviembre, modificado por el Real Decreto 56/1995, de 20 de enero). 

(2) Nueva Directiva “Máquinas” 2006/42/CE, transpuesta al derecho nacional por el Real Decreto 1644/2008, de 10 de octubre. 

(3) Real Decreto 1801/2003, de 26 de diciembre por el que se traspone la Directiva 2001/95/CE sobre seguridad general de los productos. 

(4) “Classification of equipment used for lifting loads with lifting machinery”. Documento WG-2006. 13rev2 del Grupo Máquinas establecido por la Directiva 98/37/CE.